
全國統(tǒng)一咨詢電話:18205282330
0511-80306784
sales@taipingzhou.com

EF-1型二閥組
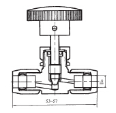
YZ6-1(QJ-1)型氣動管路截止閥
YZ7-1(SQJ-1)型氣動管路截止閥
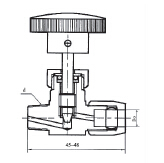
YZJ-1A(J91)型卡套截止閥
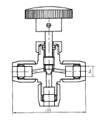
YZQ-1(QG.Y1)型卡套式球閥
YZ6-2(QJ-2A)型氣動管路截止閥
YZJ-1B(J91)型卡套截止閥
YZQ-2(QG.AY1)型取壓球閥
YZ7-2,3(SQJ-2)型氣動管路截止閥
EF-2型二閥組
YZ6-3(QJ-2B)型氣動管路截止閥
YZ7-4,5(SQJ-3)型氣動管路截止閥
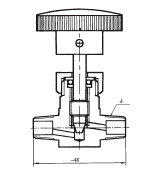
YZJ-1C(J91)型卡套截止閥
YZQ-3(QG.M1)型壓力表球閥
EF-3型二閥組
1151型二閥組
YZ6-4(QJ-3A)型氣動管路截止閥
YZ7-6(SQJ-4A)型氣動管路截止閥